
聯系我們
INA ML7025

- 型號:
- ML7025
- 品牌:
- INA
- 系列:
- ML
- 起訂量:
- ≥ 1套
- 物流:
- 全國配送

- 電話:

恩梯必專業銷售INA ML7025,能為客戶提供各種技術服務,軸承選型及型號替代等解決方案,需要ML7025最新規格、圖紙、報價等資料可聯系我司銷售部!
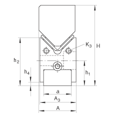
- 尺寸
- h5
- 26.5
- mm
- 說明
- K1
- M6
- 根據 DIN 912- 8.8的螺栓
- K3
- M5
- 尺寸
- tmin
- 15
- mm
- h2
- 47.5
- mm
- 楔形塊的高度取決于楔形塊的長度,它決定了不同類型的導軌截面高度 H 和 h2 。 H 的調整范圍:-0,5到+0,3 mm
- A3
- 25
- mm
- 公差: -0,2
- Lmax
- 1000
- mm
- 端部尺寸 C5 和 C6 取決于導軌長度: C5 和 C6 =L - total C4; L - total C4 >= 2 x C6 min C5 = C6 值不能小于 C5 和 C6 的最小值
- 說明
- 4)
- 標記
- 41)
- 孔的類型15 R
- 42)
- 孔的類型 15 L
- 43)
- 孔的類型03 R
- 44)
- 孔的類型 03 L
- 尺寸
- A
- 25
- mm
- 公差: -0,1
- a
- 20
- mm
- a1
- 18.2
- mm
- C4
- 80
- mm
- 對長度 L < C4 + 2 x C5 min C4 = 50 mm
- C5 min
- 30
- mm
- C5總是位于可調夾條一側
- C6 min
- 20
- mm
- H
- 70
- mm
- 楔形塊的高度取決于楔形塊的長度,它決定了不同類型的導軌截面高度 H 和 h2 。 H 的調整范圍:-0,5到+0,3 mm
- h1
- 30
- mm
- h4
- 6.5
- mm
相關型號推薦:
23960-B-K-MB+AH3960G
23964-K-MB+AH3964G
23972-K-MB+AH3972G
23976-K-MB+AH3976G
23980-B-K-MB+AH3980G
23984-K-MB+AH3984G
23988-K-MB+AH3988
23992-B-K-MB+AH3992
23996-B-K-MB+AH3996
239/500-K-MB+AH39/500
239/530-K-MB+AH39/530
239/560-B-K-MB+AH39/560
239/600-B-K-MB+AH39/600
239/630-B-K-MB+AH39/630
239/670-B-K-MB+AH39/670
熱門型號排行榜: INA LS120155 INA LS130170 INA LS140180 INA LS150190 INA LS160200 INA GS81102 INA GS81103 INA GS81104 INA GS81105 INA GS81106 INA GS81107 INA GS81108
熱門型號排行榜: INA LS120155 INA LS130170 INA LS140180 INA LS150190 INA LS160200 INA GS81102 INA GS81103 INA GS81104 INA GS81105 INA GS81106 INA GS81107 INA GS81108
FAG軸承型號搜索
FAG-INA軸承產品中心
產品中心
產品搜索
類別目錄
四川恩梯必有限公司 版權所有





