
聯系我們
FAG 29334-E1

- 型號:
- 29334-E1
- 品牌:
- FAG
- 系列:
- 293..-E1
- 內徑:
- 170 mm
- 外徑:
- 280 mm
- 厚度:
- 67 mm
- 起訂量:
- ≥ 1套
- 物流:
- 全國配送

- 電話:

恩梯必專業銷售FAG 29334-E1,能為客戶提供各種技術服務,軸承選型及型號替代等解決方案,需要29334-E1最新規格、圖紙、報價等資料可聯系我司銷售部!
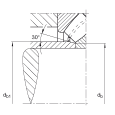
- 尺寸
- db max
- 180
- mm
- db1 max
- 188
- mm
- D
- 280
- mm
- T
- 67
- mm
- A
- 96
- mm
- D1
- 215
- mm
- Da max
- 247
- mm
- Db min
- 284
- mm
- d1
- 255.7
- mm
- da min
- 220
- mm
- d
- 170
- mm
- ra max
- 2.5
- mm
- rmin
- 3
- mm
- T1
- 30.5
- mm
- T3
- 42.2
- mm
- T5
- 60.5
- mm
- 重量
- m
- 14200
- g
- 質量
- 基本額定載荷
- Ca
- 1230000
- N
- 基本額定動載荷,軸向
- C0a
- 3500000
- N
- 基本額定靜載荷,軸向
- 極限轉速
- nG
- 2380
- r/min
- 極限轉速
- 參考轉速
- nB
- 1260
- r/min
- 參考速度
- 疲勞極限載荷
- Cua
- 450000
- N
- 疲勞極限載荷,軸向
FAG軸承型號搜索
FAG-INA軸承產品中心
產品中心
產品搜索
類別目錄
北京恩梯必科技有限公司版權所有




